Warning Icon
This product was discontinued on: December 30, 2024

For other alternatives, please contact us for more information.

1 Replacement products available
  • E14R00P07
    Tower Mounted Amplifier, Dual UMTS 2100 with AISG, 4.3-10 connectors

E15S08P96

Tower Mounted Amplifier, Dual UMTS 2100 with AISG

Finish making your selections or clear them to view relevant specifications.
Download specifications

Product classification

Product Type 1-BTS:1-ANT (Uniplex) | Tower mounted amplifier

General specifications

Color Gray
Modularity 2-Twin
Mounting Pole | Wall
Mounting Pipe Hardware Band clamps (2)
RF Connector Interface 7-16 DIN Female
RF Connector Interface Body Style Long neck

Dimensions

Height 188 mm | 7.402 in
Width 170 mm | 6.693 in
Depth 50 mm | 1.969 in
Ground Screw Diameter 8 mm | 0.315 in
Mounting Pipe Diameter Range 40–160 mm

Outline drawing

Click on image to enlarge.

Electrical specifications

License Band, LNA IMT 2100

Electrical specifications, dc power/alarm

dc Switching/Redundancy Yes
Lightning Surge Current 10 kA
Lightning Surge Current Waveform 8/20 waveform
Operating Current at Voltage 100 mA @ 12 V
Operating Current Tolerance ±15 mA
Voltage 7–30 Vdc
Alarm Current, CWA Mode 185 mA ±10 mA

Electrical specifications, aisg

AISG Connector 8-pin DIN Female
AISG Connector Standard IEC 60130-9
Protocol AISG 2.0
Voltage, AISG Mode 10–30 Vdc

Electrical specifications

Sub-module 1 | 2
Branch 1
Port Designation ANT
License Band IMT 2100, LNA

Electrical specifications, rx uplink

Frequency Range, MHz 1965–1980
Bandwidth, MHz 15.00
Gain, nominal, dB 12.0
Gain Tolerance, dB ±1
Noise Figure, maximum, dB 1.4
Noise Figure, typical, dB 1.2
Group Delay Variation, maximum, ns 10
Group Delay Variation Bandwidth, MHz 5.00
Total Group Delay, maximum, ns 90
Output IP3, minimum, dBm 24
Return Loss, minimum, dB 18
Insertion Loss - Bypass Mode, typical, dB 3.9
Return Loss - Bypass Mode, typical, dB 19
TX Band Rejection, minimum, dB 70

Electrical specifications, tx downlink

Frequency Range, MHz 2110–2170
Bandwidth, MHz 60.00
Insertion Loss, maximum, dB 0.40
Insertion Loss Ripple, maximum, dB 0.10
Group Delay Variation, maximum, ns 3
Group Delay Variation Bandwidth, MHz 5.00
Total Group Delay, maximum, ns 18
Return Loss, minimum, dB 18
RX Band Rejection, minimum, dB 60
Input Power, RMS, maximum, W 160
Input Power, PEP, maximum, W 2,500

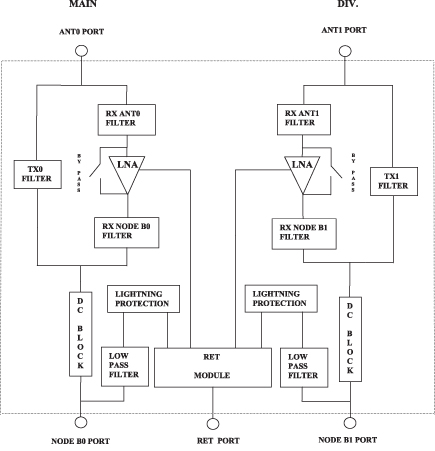
Block diagram

Click on image to enlarge.

Material specifications

Finish Painted

Environmental specifications

Operating Temperature -40 °C to +65 °C (-40 °F to +149 °F)
Relative Humidity Up to 100%
Corrosion Test Method IEC 60068-2-11, 30 days
Ingress Protection Test Method IEC 60529:2001, IP67

Packaging and weights

Included Mounting hardware
Volume 1.6 L
Weight, net 3.3 kg | 7.275 lb

Regulatory compliance/certifications

Agency Classification
ISO 9001:2015 Designed, manufactured and/or distributed under this quality management system

Product classification

Product Type 1-BTS:1-ANT (Uniplex) | Tower mounted amplifier

General specifications

Color Gray
Modularity 2-Twin
Mounting Pole | Wall
Mounting Pipe Hardware Band clamps (2)
RF Connector Interface 7-16 DIN Female
RF Connector Interface Body Style Long neck

Dimensions

Height 188 mm | 7.402 in
Width 170 mm | 6.693 in
Depth 50 mm | 1.969 in
Ground Screw Diameter 8 mm | 0.315 in
Mounting Pipe Diameter Range 40–160 mm

Electrical specifications

License Band, LNA IMT 2100

Electrical specifications, dc power/alarm

dc Switching/Redundancy Yes
Lightning Surge Current 10 kA
Lightning Surge Current Waveform 8/20 waveform
Operating Current at Voltage 100 mA @ 12 V
Operating Current Tolerance ±15 mA
Voltage 7–30 Vdc
Alarm Current, CWA Mode 185 mA ±10 mA

Electrical specifications, aisg

AISG Connector 8-pin DIN Female
AISG Connector Standard IEC 60130-9
Protocol AISG 2.0
Voltage, AISG Mode 10–30 Vdc

Electrical specifications

Sub-module 1 | 2
Branch 1
Port Designation ANT
License Band IMT 2100, LNA

Electrical specifications, rx uplink

Frequency Range, MHz 1965–1980
Bandwidth, MHz 15.00
Gain, nominal, dB 12.0
Gain Tolerance, dB ±1
Noise Figure, maximum, dB 1.4
Noise Figure, typical, dB 1.2
Group Delay Variation, maximum, ns 10
Group Delay Variation Bandwidth, MHz 5.00
Total Group Delay, maximum, ns 90
Output IP3, minimum, dBm 24
Return Loss, minimum, dB 18
Insertion Loss - Bypass Mode, typical, dB 3.9
Return Loss - Bypass Mode, typical, dB 19
TX Band Rejection, minimum, dB 70

Electrical specifications, tx downlink

Frequency Range, MHz 2110–2170
Bandwidth, MHz 60.00
Insertion Loss, maximum, dB 0.40
Insertion Loss Ripple, maximum, dB 0.10
Group Delay Variation, maximum, ns 3
Group Delay Variation Bandwidth, MHz 5.00
Total Group Delay, maximum, ns 18
Return Loss, minimum, dB 18
RX Band Rejection, minimum, dB 60
Input Power, RMS, maximum, W 160
Input Power, PEP, maximum, W 2,500

Material specifications

Finish Painted

Environmental specifications

Operating Temperature -40 °C to +65 °C (-40 °F to +149 °F)
Relative Humidity Up to 100%
Corrosion Test Method IEC 60068-2-11, 30 days
Ingress Protection Test Method IEC 60529:2001, IP67

Packaging and weights

Included Mounting hardware
Volume 1.6 L
Weight, net 3.3 kg | 7.275 lb
Click on image to enlarge.
Click on image to enlarge.

Regulatory compliance/certifications

Agency Classification
ISO 9001:2015 Designed, manufactured and/or distributed under this quality management system
Filter Products – Designed for PIM Excellence
Filter Products – Designed for PIM Excellence

Product specification

Product specification